
专利号:201310178148X 专利名称:一种冲压打端机构 状态:未下证
公开(公告)号:CN103296559A 申请(专利权)人:赵维
申请日:20130515 主分类号:H01R43/048
公开(公告)日:20130911
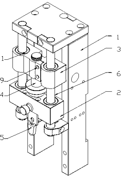
摘要: 本发明涉及电子线材机械领域,具体是一种冲压打端机构,包括:机架、模头、模头上调节块、模头调扭杆、冲压头、两模头导柱,模头上调节块与模头调扭杆配合的螺纹孔上沿轴向设有一开口,自然状态下开口两面有一定距离,开口面的垂直方向设有螺钉。本发明采用上述结构,模头上调节块与模头调扭杆之间设有松紧调节机构,需要旋转模头调扭杆调节冲压头高度的时候先放松松紧调节机构,冲压头高度确定后再拧紧松紧调节机构,可保护模头调扭杆的螺纹减少损伤。